证券之星消息,根据天眼查APP数据显示美的集团(000333)新获得一项发明专利授权,专利名为“定子和电机”,专利申请号为CN201911422872.6,授权日为2025年7月18日。

图片来源于网络,如有侵权,请联系删除
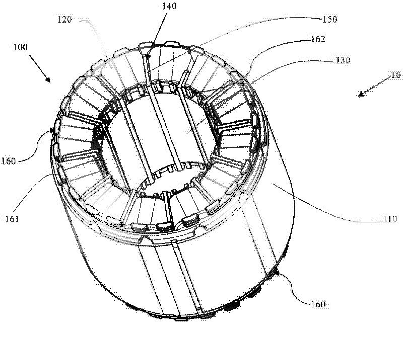
专利摘要:本申请公开了一种定子和电机。该定子包括:定子铁芯包括多个内定子齿和呈环状设置的定子轭,多个内定子齿沿定子轭的周向间隔设置于定子轭的内侧,并向定子轭的中轴线延伸,相邻的内定子齿之间形成定子槽;第一相绕组、第二相绕组和第三相绕组分别经过由一个定子槽间隔的两个定子槽绕设于两个相邻的内定子齿上;其中,定子槽沿定子轭的径向划分为内层空间和外层空间,第一相绕组、第二相绕组和第三相绕组中的每个绕组穿设所对应的两个定子槽的内层空间,或者穿设所对应的两个定子槽的外层空间。通过设置跨2槽距的绕组和限定各绕组穿设所对应的两个定子槽的内层空间或外层空间,本申请提供的定子能够提升包含该定子的电机的输出转矩和输出功率。

图片来源于网络,如有侵权,请联系删除
今年以来美的集团新获得专利授权1524个,较去年同期减少了19.62%。结合公司2024年年报财务数据,2024年公司在研发方面投入了162.33亿元,同比增11.31%。
通过天眼查大数据分析,美的集团股份有限公司共对外投资了128家企业,参与招投标项目4331次;财产线索方面有商标信息9708条,专利信息65744条,著作权信息124条;此外企业还拥有行政许可84个。
数据来源:天眼查APP
以上内容为证券之星据公开信息整理,由AI算法生成(网信算备310104345710301240019号),不构成投资建议。