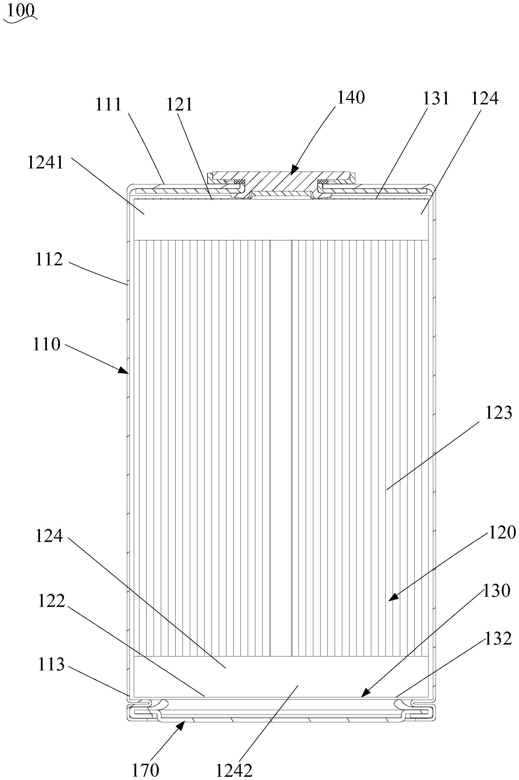
证券之星消息,根据企查查数据显示湖南裕能(301358)公布了一项国际专利申请,专利名为“正极材料及其制备方法、正极极片、电池及用电装置”,专利申请号为PCT/CN2024/134460,国际公布日为2025年7月17日。

图片来源于网络,如有侵权,请联系删除
专利详情如下:

图片来源于网络,如有侵权,请联系删除
图片来源:世界知识产权组织(WIPO)

图片来源于网络,如有侵权,请联系删除
今年以来湖南裕能已公布的国际专利申请2个。结合公司2024年年报财务数据,2024年公司在研发方面投入了2.92亿元,同比减18.6%。
数据来源:企查查
以上内容为证券之星据公开信息整理,由AI算法生成(网信算备310104345710301240019号),不构成投资建议。