证券之星消息,根据天眼查APP数据显示华测检测(300012)新获得一项实用新型专利授权,专利名为“拉链扭抗力矩测试夹具”,专利申请号为CN202422105439.2,授权日为2025年10月21日。

图片来源于网络,如有侵权,请联系删除
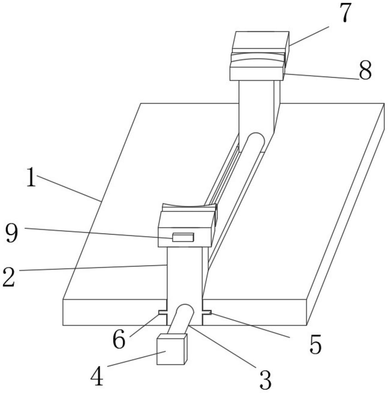
专利摘要:本申请提供了一种拉链扭抗力矩测试夹具,包括拉头夹持组件、拉片夹持组件、轴承支座、扭力转轴、扭力转轮及连接链条,通过将拉头夹持组件及轴承支座固定设置于万能拉力试验机的固定底座上,并通过连接链条固定连接万能拉力试验机的传动力臂,以当拉头夹持组件及拉片夹持组件分别夹持固定测试拉链的拉头及测试拉链的拉片后,驱动万能拉力试验机的传动力臂以恒定线速度拉动连接链条,进而使得扭力转轮、扭力转轴及拉片夹持组件以恒定角速度同步转动,实现扭转测试拉链的拉片,可见上述拉链扭抗力矩测试夹具与万能拉力试验机配合即可以满足测试性需求,无需再额外配置扭矩测试仪器导致测试成本增加。

图片来源于网络,如有侵权,请联系删除
今年以来华测检测新获得专利授权27个,较去年同期减少了6.9%。结合公司2025年中报财务数据,今年上半年公司在研发方面投入了2.34亿元,同比增2.91%。

图片来源于网络,如有侵权,请联系删除
通过天眼查大数据分析,华测检测认证集团股份有限公司共对外投资了69家企业,参与招投标项目7954次;财产线索方面有商标信息249条,专利信息348条,著作权信息64条;此外企业还拥有行政许可124个。
数据来源:天眼查APP
以上内容为证券之星据公开信息整理,由AI算法生成(网信算备310104345710301240019号),不构成投资建议。