证券之星消息,根据天眼查APP数据显示海尔智家(600690)新获得一项实用新型专利授权,专利名为“一种单流涡流管制冷系统和制冷设备”,专利申请号为CN202422658429.1,授权日为2025年10月24日。

图片来源于网络,如有侵权,请联系删除
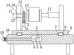
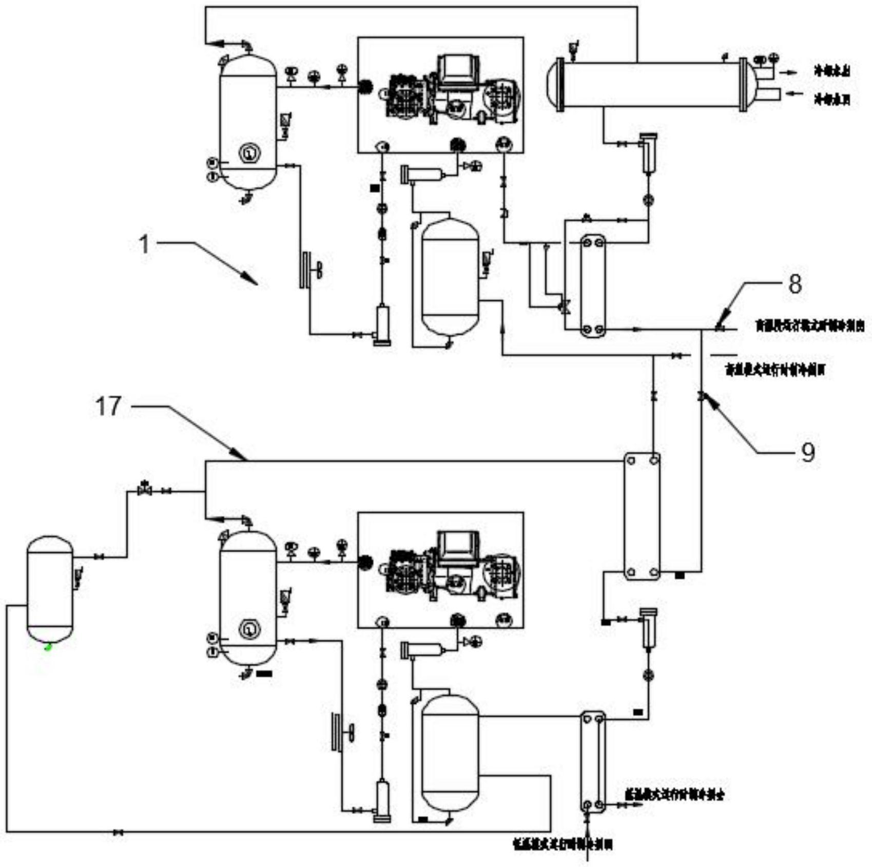
专利摘要:本实用新型提供一种单流涡流管制冷系统和制冷设备,涉及制冷设备领域,方案通过空压机连接多个串联的单流涡流管的方式,采用空压机对空气进行压缩,压缩后的空气进入串联的N个单流涡流管,经由串联的N个单流涡流管处理后,由最后一个单流涡流管的冷端出口输出冷空气,此种多单流涡流管相互串联的设置方式能够消除热气流,提升冷气流流量,增大制冷量,系统控制方案简单,无需考虑常规状况下涡流管热气流影响,并可多次串联提升制冷量。

图片来源于网络,如有侵权,请联系删除
今年以来海尔智家新获得专利授权4498个,较去年同期减少了3.19%。结合公司2025年中报财务数据,今年上半年公司在研发方面投入了57.9亿元,同比增11.73%。

图片来源于网络,如有侵权,请联系删除
通过天眼查大数据分析,海尔智家股份有限公司共对外投资了59家企业,参与招投标项目1764次;财产线索方面有商标信息368条,专利信息64563条,著作权信息53条;此外企业还拥有行政许可10个。
数据来源:天眼查APP
以上内容为证券之星据公开信息整理,由AI算法生成(网信算备310104345710301240019号),不构成投资建议。