证券之星消息,根据天眼查APP数据显示比依股份(603215)新获得一项实用新型专利授权,专利名为“一种搅拌件的传动组件以及炒菜机”,专利申请号为CN202422399895.2,授权日为2025年10月24日。

图片来源于网络,如有侵权,请联系删除
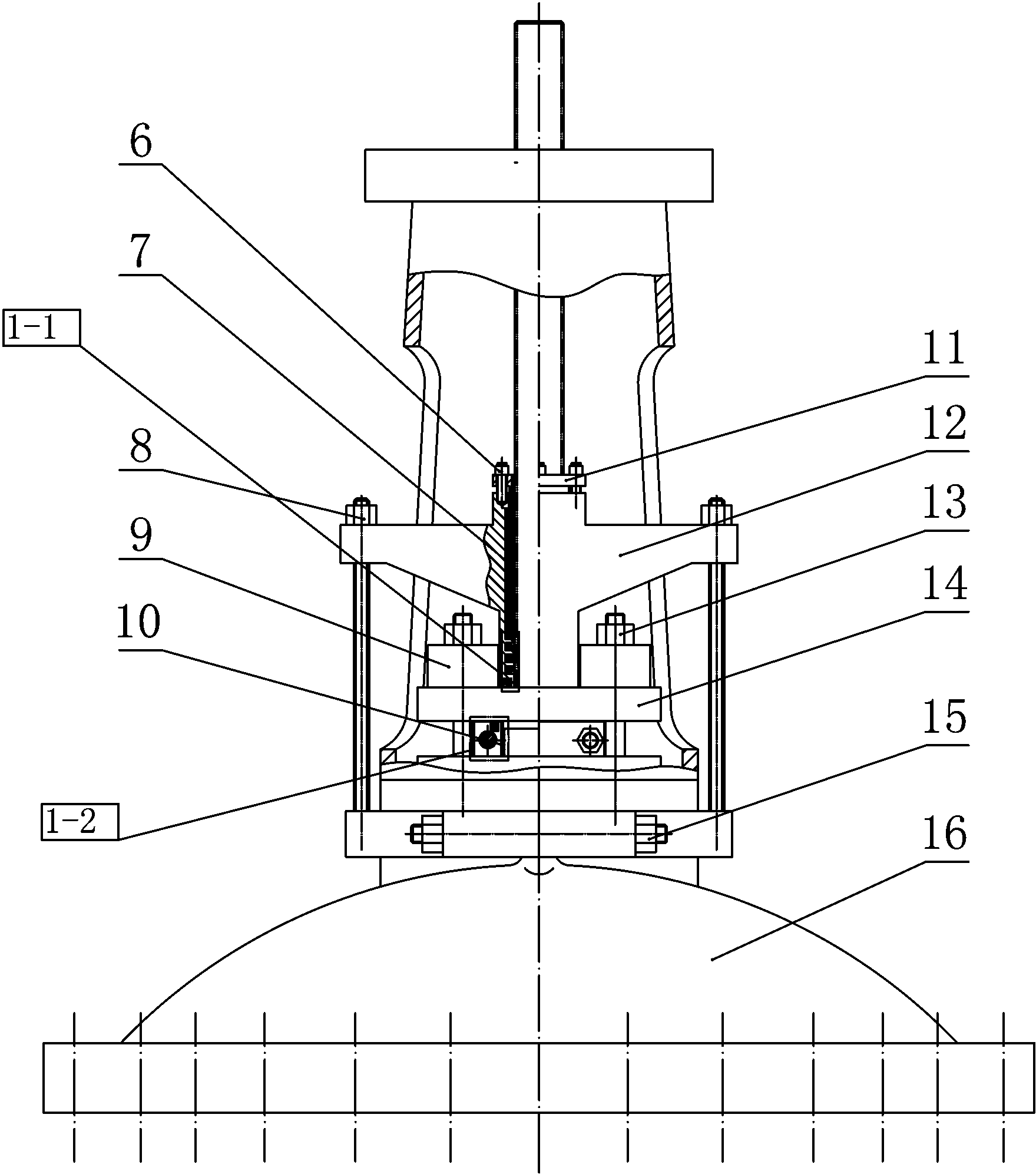
专利摘要:本实用新型公开了一种搅拌件的传动组件以及炒菜机,包括,搅拌件,搅拌件设有转动轴,转动轴设有第一连接部;传动机构,传动机构包括驱动件、第一传动轴、传动件以及第二传动轴,第一传动轴设有第二连接部,第二连接部与第一连接部可拆卸连接,以使第一传动轴与转动轴连接;第二传动轴与驱动件可拆卸连接;一种炒菜机,包括机座、锅体以及的传动组件,搅拌件通过转动轴可转动的安装于锅体;传动机构设于锅体外;机座上设有驱动件,驱动件用于在锅体安装于机座后与第二传动轴可拆卸连接。本实用新型可以通过转动轴与传动机构可拆卸连接,方便拆卸;且在搅拌使用时以传动机构与驱动件可拆卸的方式进行传动,搅拌件转动过程稳定。

图片来源于网络,如有侵权,请联系删除
今年以来比依股份新获得专利授权96个,较去年同期增加了23.08%。结合公司2025年中报财务数据,今年上半年公司在研发方面投入了3159.11万元,同比增6.31%。
通过天眼查大数据分析,浙江比依电器股份有限公司共对外投资了13家企业,参与招投标项目19次;财产线索方面有商标信息57条,专利信息681条,著作权信息5条;此外企业还拥有行政许可11个。
数据来源:天眼查APP
以上内容为证券之星据公开信息整理,由AI算法生成(网信算备310104345710301240019号),不构成投资建议。