证券之星消息,根据天眼查APP数据显示东亚机械(301028)新获得一项外观设计专利授权,专利名为“真空除尘器”,专利申请号为CN202430182718.1,授权日为2024年12月24日。

图片来源于网络,如有侵权,请联系删除
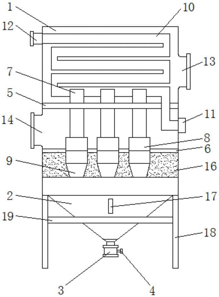
专利摘要:1.本外观设计产品的名称:真空除尘器。2.本外观设计产品的用途:用于真空泵前置处理器,收集混合物中的灰尘,保证真空泵能正常工作。3.本外观设计产品的设计要点:在于形状。4.最能表明设计要点的图片或照片:立体图。

图片来源于网络,如有侵权,请联系删除
今年以来东亚机械新获得专利授权27个,较去年同期减少了6.9%。结合公司2024年中报财务数据,今年上半年公司在研发方面投入了2706.59万元,同比增28.78%。

图片来源于网络,如有侵权,请联系删除
数据来源:天眼查APP
以上内容为证券之星据公开信息整理,由智能算法生成,不构成投资建议。