证券之星消息,根据天眼查APP数据显示勘设股份(603458)新获得一项实用新型专利授权,专利名为“一种悬索桥隧道锚锚碇”,专利申请号为CN202420862146.6,授权日为2024年12月27日。

图片来源于网络,如有侵权,请联系删除
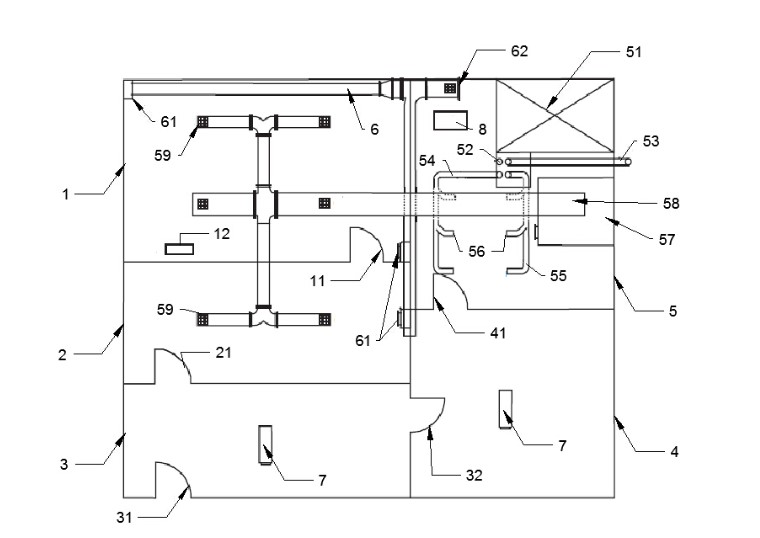
专利摘要:本实用新型公开了一种悬索桥隧道锚锚碇,包括导洞、第一锚室及第二锚室,所述第二锚室的内部设置有锚块,所述锚块上设置有多个索股,所述第一锚室的内部设置有用于对索股分散传动的散索套,还包括设置在第一锚室内部的用于对散索套支撑的支撑组件,所述支撑组件包括安装座。本实用新型的一种悬索桥隧道锚锚碇,悬索桥隧道锚锚碇使用的过程中,当由于主缆的拉力作用导致混凝土锚块内部产生的应力分布不均匀时,通过不同位置上支撑组件对散索套支撑力度的调节,对散索套的使用位置进行调节控制,通过散索套的移动控制,对各个索股的拉力方向进行调节,使的混凝土锚块受到的拉拔力合力的中心与混凝土锚块的几何中心重合,保证锚碇拉固的效果。

图片来源于网络,如有侵权,请联系删除
今年以来勘设股份新获得专利授权72个,较去年同期减少了23.4%。结合公司2024年中报财务数据,今年上半年公司在研发方面投入了2782.85万元,同比增15.9%。
数据来源:天眼查APP
以上内容为证券之星据公开信息整理,由智能算法生成,不构成投资建议。