证券之星消息,根据天眼查APP数据显示广汽集团(601238)新获得一项外观设计专利授权,专利名为“智能移动机器人”,专利申请号为CN202430200959.4,授权日为2024年12月27日。

图片来源于网络,如有侵权,请联系删除
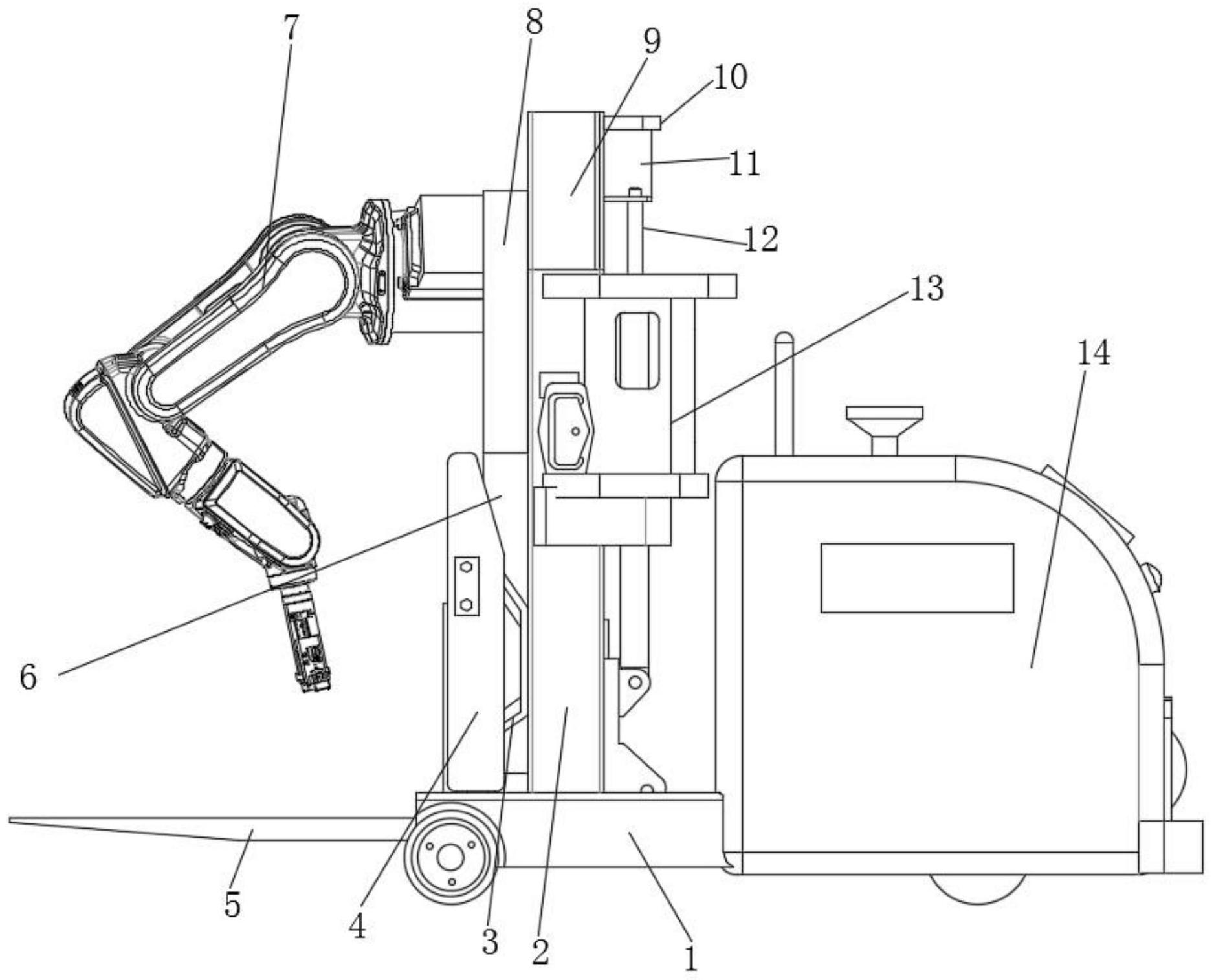
专利摘要:1.本外观设计产品的名称:智能移动机器人。2.本外观设计产品的用途:本产品用于提供智能移动和智能出行服务。3.本外观设计产品的设计要点:在于形状。4.最能表明设计要点的图片或照片:立体图。

图片来源于网络,如有侵权,请联系删除
今年以来广汽集团新获得专利授权1105个,较去年同期减少了29.21%。结合公司2024年中报财务数据,今年上半年公司在研发方面投入了6.81亿元,同比减20.95%。
数据来源:天眼查APP
以上内容为证券之星据公开信息整理,由智能算法生成,不构成投资建议。