证券之星消息,根据天眼查APP数据显示京东方A(000725)新获得一项发明专利授权,专利名为“显示面板、显示装置及制备方法”,专利申请号为CN202110220398.X,授权日为2025年1月3日。

图片来源于网络,如有侵权,请联系删除
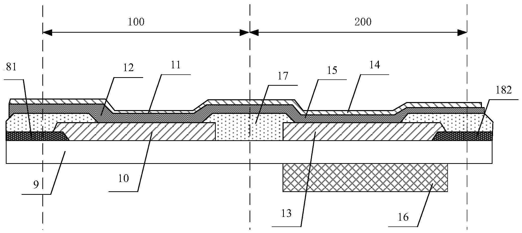
专利摘要:本发明提供一种显示面板、显示装置及制备方法。该显示面板包括透明衬底和位于所述透明衬底上的第一显示区域、第二显示区域,所述第一显示区域上设置有多个阵列排布的第一发光器件单元,所述第二显示区域上设置有多个阵列排布的第一驱动单元,每一所述第一驱动单元分别通过连接引线连接至其中一第一发光器件单元,通过所述第一驱动单元驱动相应的所述第一发光器件单元发光;其中,所述连接引线制作于无机保护层上。采用该显示面板,将与摄像头透光区域上所设置发光器件单元连接的连接引线制作于无机保护层上,以增加与连接引线的结合力,并达到降低电阻率,并避免基底发黑的问题。

图片来源于网络,如有侵权,请联系删除
今年以来京东方A新获得专利授权7个,较去年同期减少了65%。结合公司2024年中报财务数据,2024上半年公司在研发方面投入了58.06亿元,同比增10.24%。
数据来源:天眼查APP
以上内容为证券之星据公开信息整理,由智能算法生成(网信算备310104345710301240019号),不构成投资建议。